东营哪里有做管道自然腐蚀电位测试,价格多少?山东科通石油工程技术有限公司专业做管道自然腐蚀电位测试,价格实惠.
管道自然腐蚀电位测试
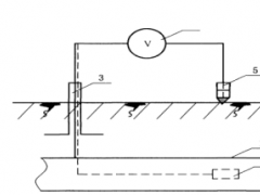
管道自然腐蚀电位为无净电流(外部)从研究金属表面流入或流出的腐蚀电位,主要测试方法应采用地表参比法。
测试仪器:数字万用表(内阻不小于10 MΩ,精度不低于0.5级),参比电极:(应采用CSE,且符合流过CSE的允许电流密度不大于5 μA/cm2,且电位漂移不能超过30 mV。
测试方法:将参比电极放在管道正上方地表潮湿的土壤上,应保证参比电极与土壤电接触良好,将数字万用表调至适宜的量程上,读取数据,做好记录,注明该电位值的名称,接线如图2
图2 管道自然腐蚀电位测试接线图地址:东营山东东营市

